Zawiasy bezpieczeństwa CFSQ-EA chronią użytkowników przed skutkami przypadkowego otwarcia drzwi. Zapewniają automatyczne rozłączenie zasilania, gwarantując bezpieczeństwo operatorowi. Konstrukcja zawiasów CFSQ-EA rozszerza zakres użytkowania standardowych elementów z tej serii, umożliwiając montaż zawiasu na zewnętrznym narożniku obudowy urządzenia.
Rys.1. Zawiasy bezpieczeństwa CFSQ z wbudowanym wyłącznikiem bezpieczeństwa
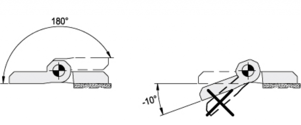
Dotychczas można było zastosować zawiasy z funkcją bezpieczeństwa tylko w aplikacjach umożliwiających montaż na powierzchniach płaskich, gdzie pozycja wyjściowa zawiasu wynosiła 0°, tj. w ustawieniu, w którym obie powierzchnie mocowania znajdowały się w tej samej płaszczyźnie (rys. 2). Zakres działania takiego zawiasu wynosił wówczas maks. 190° i zawierał się w wartościach pomiędzy -10° a +180°. Dla zachowania prawidłowego funkcjonowania czujnika należało stosować zewnętrzne mechaniczne ograniczniki otwierania drzwi, ustawione tak, by nie przekroczyć kąta -10° (rys. 3).
Rys.2. Montaż zawiasów bezpieczeństwa CFSQ, w którym obie powierzchnie montażowe znajdują się w tej samej płaszczyźnie
Rys. 3. Dotychczasowy zakres działania wszystkich zawiasów CFSQ
Wersja CFSQ-EA umożliwia montaż zawiasów na narożnikach obudów urządzeń, ponieważ pozycja wyjściowa zawiasu wynosi -90° (rys. 4). Jednocześnie zakres działania został rozszerzony do 270° (rys. 5). Stosowanie ograniczników otwarcia nadal jest wskazane, jednak ich umiejscowienie nie stanowi już żadnego problemu. Dzięki nowej konstrukcji zawiasów CFSQ-EA mogą być montowane na obudowach maszyn i urządzeń wykonanych z cienkich profili, blachy, szkła akrylowego (pleksiglas) itp. Kąt przełączenia czujnika w CFSQ-EA wynosi -84°, rozłączenie układu (lub załączenie – w konfiguracji ze stykiem normalnie otwartym NO) nastąpi więc przy uchyleniu skrzydła o 6°, czyli dokładnie w tym samym momencie, co w pozostałych standardowych wersjach CFSQ (rys. 6). Dla aplikacji wymagających specjalnego kąta przełączania czujnika jest możliwe zamówienie zawiasów o innym kącie w interwałach co 15°.
Rys. 4. Montaż zawiasów CFSQ-EA w pozycji wyjściowej -90°
Rys. 5. Zakres działania zawiasów CFSQ-EA wynosi 270°
Rys. 6. Kąt przełączenia czujnika w zawiasach CFSQ i CFSQ-EA
Strona katalogowa prezentowanego produktu:
Zawias z wbudowanym wyłącznikiem bezpieczeństwa CFSQ
Informacje o pełnej ofercie ELESA+GANTER znajdują się w nowym katalogu podstawowym 038 (wersja polskojęzyczna) lub na stronie: www.elesa-ganter.pl
Jeśli nie posiadasz katalogu – zamów
Kontakt:
Centrala: +48 22 737 70 47
Pomoc techniczna: +48 885 020 900 (Dominik Gryczyński)
Powiązane artykuły:
CFSQ – zawias wyłącznikiem
CFSW – Zawias z wbudowanym wyłącznikiem bezpieczeństwa



























